तीन स्विच से जला बल्ब
एक ही बल्ब को दो स्विचों से जलाने की गुत्थी तो पिछली बार सुलझ गई थी, लेकिन एक सवाल उठा था, बल्ब को तीन या ज्यादा स्विच से जलाने का - तीन लोगों ने सही जवाब दिए। पहला जवाब है। हैदराबाद विश्वविद्यालय के अर्थशास्त्र के शिक्षक नरेश शर्मा का।
ग्यारहवां अंक मिलने पर स्विच से संबंधित सवाल देखा। चूंकि 'टू वे स्विच' का परिपथ पहले से मालूम था इसलिए सोचा ‘थ्री वे स्विच' की पुनर्खोज की जाए। वाकई थोड़ा सिर तो खुजलाना पड़ा। इसका एक मुख्य कारण था 'टू वे स्विच' की बनावट पता होना। क्योंकि उसी प्रकार के तीन स्विचों को विद्युत परिपथ में जोड़ना संभव नहीं दिख रहा था।( कुल मिलाकर नौ बिन्दुओं को तार से जोड़ना पड़ता, जिनमें से दो विद्युत के प्रवेश करने और बाहर निकल जाने वाले होते थे - क्योंकि इतना तो निश्चित ही है कि सभी स्विच श्रेणीगत लगेंगे, समान्तर परिपथ में नहीं )।
लेकिन इसका हल तो बिल्कुल आसान था। अगर 'टू वे स्विच' को दो सिरे के स्विच मान लें तो करना महज़ इतना था कि बीच में स्विच लगाकर तारों की अदला बदली कर दी जाए।
नीचे दिए गए स्विच और परिपथ के अनुसार एक बल्ब को चाहे जितने स्थानों से जलाया, बुझाया जा सकता है। उसमें दो प्रकार के स्विचों का प्रयोग होगा। इन्हें 'सिरे का स्विच' और 'मध्य स्विच' नाम दिया जा सकता है। किसी भी परिपथ में दोनों सिरों पर एक-एक सिरे का स्विच' लगेगा। शेष सभी स्विच ‘मध्य स्विच' होंगे।
सिरे का स्विचः यह बारहवें अंक में दिखाया गया 'टू वे स्विच' है। इसका रेखा चित्र इस तरह होगा;
स्विच के बिन्दु 1 को या तो बिन्दु 2 के साथ या बिन्दु 3 साथ जोड़ा जा सकता है
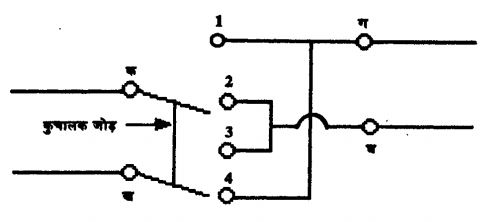
मध्य स्विचः इसका रेखा चित्र इस तरह होगाः
स्विच ऊपर करने पर 'क' '1' से और 'ख' '3' से जुड़ता है, यानी कि 'क' और 'ग' बिन्दु जुड़ जाते हैं और 'ख' और 'घ' बिन्दु जुड़ जाते हैं। स्विच नीचे करने से 'क', '2' से और 'ख', '4' से जुड़ता है, यानी कि उस स्थिति में 'क' का संबंध 'घ' से और 'ख' का संबंध 'ग' से हो जाता है। स्विच ऊपर-नीचे करने से बाएं पक्ष के तारों के दाएं तारों से जुड़ाव में अदला-बदली हो जाती है। इस प्रकार के स्विच को कई प्रकार से बनाया जा सकता है, जो सभी रेखाचित्र में समान रूप से दर्शाए जाएंगे। दो बनावटें यहां प्रदर्शित हैं।
1. 'टू वे स्विच' में थोड़ी तब्दीली करकेः



इस स्विच का सरल रेखाचित्र ऊपर और नीचे की स्थिति में नीचे दिखाए समान माना जा सकता है:


तीन स्विचों से बल्ब जलने और बुझने की स्थितियां: स्विच संख्या 1, 2, 3 और स्थिति ऊपर-नीचे।
1,2,3 और 4 स्थितियों में बल्ब जलेगा 5,6,7,और 8 स्थितियों में बल्ब नहीं जलेगा
यदि वर्तमान स्थिति में परिपथ एक जैसे हैं ( बल्ब जला ) तो किसी भी एक स्विच को नीचे करने से बल्ब बुझेगा। ऐसा ही बुझे हुए परिपथ के साथ होगा।
अंत में दो-दो साधारण स्विच जोड़कर बनाये गये 'टू वे स्विच' के विषय में -- वास्तव में यह 'टू वे स्विच' ही है जिसमें दोनों खटकों को अलग-अलग स्वतंत्र रूप से ऊपर नीचे नहीं किया जा सकता। या कहें कि यह ‘जालसाज़ी' 'टू वे स्विच' का बीज है। और इस बनावट( साधारण स्विचों की जोड़ी ) में यदि एक स्विच ऊपर और एक नीचे किया तो यह 'टू वे स्विच' का कार्य नहीं करेगा।
फोर वे स्विच और जला बल्ब
इस जवाब में ‘इंटरमिडिएट स्विच' और 'टू वे स्विच' का उपयोग कर परिपथ बनाया गया है। इसे बनाया है उज्जैन के के. एस. सक्सेना ने।
तीन स्विचों के बल्ब जलाने के लिए मैंने एक ‘फोर वे स्विच' (इंटरमिडिएट स्विच ) और दो ‘टू वे स्विच' का उपयोग किया है।
'टू वे स्विच' का परिपथ तो संदर्भ के पिछले अंक में दिया जा चुका है। और ‘फोर वे स्विच' कुछ इस तरह दिखता है। चित्र में दाहिनी ओर वायर लगाने के लिए दो स्थान दिख रहे हैं। स्विच के बाईं ओर भी इसी तरह के दो स्थान होते हैं। इसकी दो स्थितियां होती हैं।
पहले परिपथ में दो टू वे स्विच और एक फोर वे स्विच का परिपथ है। इसमें स्विचों की स्थिति के अनुसार बल्ब जलेगा। दूसरे चित्र में फोर वे स्विच के चलने ( स्थिति बदलने ) पर बल्ब बंद अवस्था में होगा। तीसरे चित्र में हैं वे स्विचों का इस्तेमाल करने पर बल्ब पुनः जलने लगेगा।
चौथे चित्र में दोनों टू वे स्विचों का उपयोग करने पर बल्ब फिर से जलने लगेगा। (यानी किसी एक को चलाने पर बंद और दूसरे को चलाने पर पुनः जलना )।
इस तरह चारों परिपथों की मदद से तीन स्विचों की स्थिति में बल्ब के जलने की प्रक्रिया देखी जा सकती है।
यदि हम बल्ब को तीन से अधिक जगह से जलाना चाहें तो उतने ही फोर वे स्विचों का इस्तेमाल करना पड़ेगा (आखिरी परिपथ)। .
मल्टी वे स्विच
एक ही बल्ब को कई जगह से नियंत्रित करने के लिए इलेक्ट्रॉनिक परिपथ भी बन सकता है। इसे सुझाया है होशंगाबाद के मोहम्मद रज़्ज़ाक और इरफान खान ने। 
नोटः रिले की कॉयल (Coil) पर 9v D.C. करंट दिया जाता है। यह ट्रांजिस्टर BC547 B से नियंत्रित होता है। आऊटपुट के लिए अलग से 220 वोल्ट A.C. सप्लाई ली जाती है। दो सुचालक पट्टियों से बनाए गए टच स्विच (T) से रिले नियंत्रित होगी। ऐसे जितने भी टच स्विच लगाएंगे उन सब जगहों से आप बल्ब नियंत्रित कर सकते हैं।
